R814
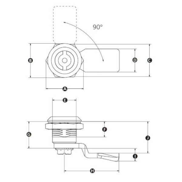
| Ref. | A | B | C | D | E | F | G | H | I | J | Tipo de Llave |
|---|---|---|---|---|---|---|---|---|---|---|---|
| R814-1-32 | 31 | 28 | 27 | 19 | 20 | 13 | 22 | 45 | 17 | 32 | Con Ranura |
| R814-2-13 | 31 | 28 | 27 | 19 | 20 | 13 | 22 | 45 | 2 | 13 | Doble paletn |
| R814-2-20 | 31 | 28 | 27 | 19 | 20 | 13 | 22 | 45 | 5 | 20 | Doble paletn |
| R814-2-26 | 31 | 28 | 27 | 19 | 20 | 13 | 22 | 45 | 11 | 26 | Doble paletn |
| R814-2-32 | 31 | 28 | 27 | 19 | 20 | 13 | 22 | 45 | 17 | 32 | Doble paletn |
| R814-3-13 | 31 | 28 | 27 | 19 | 20 | 13 | 22 | 45 | 2 | 13 | Tri-Lock |
| R814-3-20 | 31 | 28 | 27 | 19 | 20 | 13 | 22 | 45 | 5 | 20 | Tri-Lock |
| R814-3-26 | 31 | 28 | 27 | 19 | 20 | 13 | 22 | 45 | 11 | 26 | Tri-Lock |
| R814-3-32 | 31 | 28 | 27 | 19 | 20 | 13 | 22 | 45 | 16 | 32 | Tri-Lock |
Cierre de leva cuarto de vuelta. Disponible con múltiples llaves y cerradura. combinaciones y varios tamaños de levas
Índice de protección (IP): IP54 Protegido contra el polvo. Protegido contra salpicaduras de agua
Las cerraduras que requieren una llave de doble paletón o una llave de tri-lock no serán suministradas. Para la solicitud de las llaves, las referencias son R814K-2 (llave de doble paletón) y R814K-3 (llave Tri-lock)
















